

性能特點:
SSJB(AY)型壓蓋式松套伸縮接頭是在松套伸縮接頭原有性能的基礎上,增設限位裝置,在壓蓋式松套限位伸縮接頭大伸縮量處用雙螺母鎖定。這樣就實現管道在允許的伸縮量中可以伸縮,一旦超過壓蓋式松套限位伸縮接頭大伸縮量,就起到限位,這樣就的確保壓蓋式松套限位伸縮接頭管道的運行,特別適用于有震動或有一定斜度及在拐彎的管路中的選擇。
安裝注意事項:
SSJB(AY)型壓蓋式松套伸縮接頭適用于兩邊與管子插接,無需,機構合理,密封可靠,安裝快捷方便。
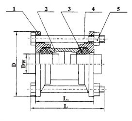
SSJB(AY)型壓蓋式松套伸縮接頭材料表
序號
名稱
數量
材料
1
壓蓋
2
QT400-15、Q235A、ZG230-450、1Cr13、20
2
套筒
1
Q235A、20、16Mn、1Cr18Ni9Ti
3
密封圈
2
NBR、CR、FPM、NR
4
螺柱
n
Q235A、35、1Cr18Ni9Ti
5
螺母
n
Q235A、20、1Cr18Ni9Ti
SSJB(AY)型壓蓋式松套伸縮接頭基數據表
公稱通徑DN
管子外徑DW
外形尺寸
n-Th
L1
L
D
0.25-1.6Mpa
2.5-6.4Mpa
65
76
180
208
155
4-M12
4-M12
80
89
165
100
108
190
4-M16
114
195
125
133
215
140
225
150
159
220
245
4-M16
6-M16
168
255
200
219
310
250
273
223
375
6-M20
8-M20
300
325
220
273
440
350
355
470
8-M20
10-M20
377
490
400
406
520
426
540
450
457
570
10-M20
12-M20
480
590
500
508
625
530
645
600
61O
730
630
750
700
720
850
12-M20
14-M20
800
820
290
355
965
12-M24
16-M24
900
920
1065
14-M24
18-M24
1000
1020
1165
1200
1220
1365
16-M24
20-M24
1400
1420
377
1590
18-M24
24-M27
1500
1520
1690
1600
1620
1795
20-M27
28-M27
1800
1820
2000
22-M27
32-M30
2000
2020
2200
24-M27
32-M30
2200
2220
400
2420
26-M30
2400
2420
2635
28-M30
2600
2620
400
2835
30-M30
2800
2820
3040
32-M33
3000
3020
3240
34-M33
3200
3220
3440
36-M33
3400
3420
490
3640
38-M33
3600
3620
3860
40-M33
